1. 简介
1.1 功能简介
累加汇总是一种将多个数值进行累加求和,并将结果汇总的计算方法。在数据分析中,累加汇总计算常用于统计一段时间内或某个区间内某个指标的总量,以便更好地了解数据的总体情况和趋势。
累加汇总计算的结果通常也叫累计值。
1.2 应用场景
累计值在数据分析中常见场景如下:
销售分析:在销售数据分析中,累计值通常用于比较不同时间段内的销售额、销售量等指标的变化趋势,以便确定销售业绩的增长情况和未来趋势。
财务分析:在财务分析中,累计值通常用于计算累计收入和支出、净利润等指标,以便评估公司的财务状况和未来发展趋势。
生产分析:在生产分析中,累计值通常用于计算生产数量、生产成本等指标的累积值,以便评估生产效率和成本控制情况。
1.3 预期效果
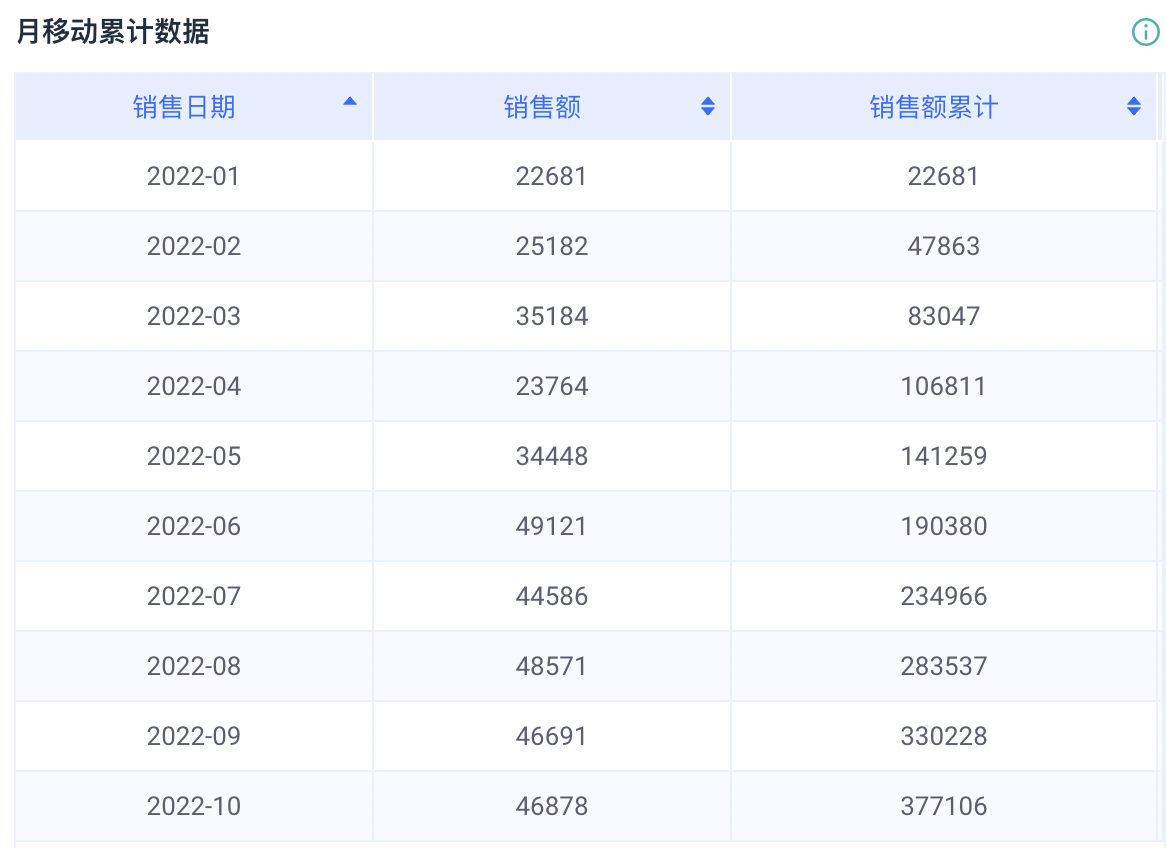
下图为销售额按月进行累加计算的效果:
1.3 预期效果
2. 设置步骤
2.1 新建数据流
在数据工厂功能入口处「新建数据流」
2.2 选择数据源
选择需要进行累加计算的数据源表单
2.3 添加字段设置节点
为数据流添加一个字段设置节点用于累加汇总计算
2.4 累加汇总计算
累加汇总的设置包括以下内容:
- 字段名称:累加字段的显示名。
- 累加字段:需要进行累加汇总计算的字段(需为数字类型)。
- 累加顺序:支持根据日期时间或者数字类型的数据按升序或降序进行累加计算。
- 分组字段:在某一个数据范围内进行累加汇总。如果分组内的数据有多个,则分别根据累加顺序的规则设置进行累加汇总计算。(未设置分组字段,则对全量数据根据累加顺序进行累加汇总计算)
2.5 累加字段编辑
添加好的累加汇总字段还可以进一步编辑修改以及删除
2.6 效果演示
经数据工厂计算得出的结果可通过仪表盘进行展示。
2.6.1 无分组
在无分组的情况下,将数据按照设置的顺序全量累加汇总。如,根据销售时间,对销售额累加汇总,及时了解各个时间段的销售总额
2.6.2 有分组
有分组,即在分组内根据设置的顺序规则进行累加汇总。如各个销售区域分别根据销售日期进行累加汇总,可以了解各时间段的销售总额
3. 注意事项
添加的累加汇总字段输出的数据结果为数值类型,支持被计算字段二次计算。
作者:极速搭 创建时间:2024-12-16 16:26
最后编辑:极速搭 更新时间:2025-07-11 10:08
最后编辑:极速搭 更新时间:2025-07-11 10:08